歡迎訪問沼河浸過濾器官網

技術參數
- 單臺處理水量:45-800m3/h
- 最大工作壓力:0.1-1.6Mpa
- 過濾器清潔時的壓力損失:≤0.018Mpa
- 最高工作水溫:95℃
- 過濾精度范圍:10-3000μm
- 自清洗所需水量:<1%
- 自清洗時間:10-60秒
- 自清洗控制方式:壓差、時間及手動
- 電控方式:交流三相380V/ 50Hz
- 控制界面:數顯、旋鈕、開關
- 濾網類型:316L編織網、楔形網
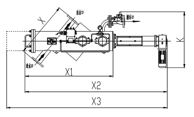
尺寸對照表

型號 | 管徑 | 出入水口 | X | X1 | X2 | K | 過濾面積 | 處理水量 | 重量 |
---|---|---|---|---|---|---|---|---|---|
inch | mm | mm | mm | mm | mm | cm2 | m3/h | kg | |
ELC-X03 | 3 | 80 | 794 | 1176 | 1943 | 785 | 3562 | 45 | 117 |
ELC-X04 | 4 | 100 | 916 | 1236 | 2003 | 864 | 5236 | 65 | 120 |
ELC-X05 | 5 | 125 | 1020 | 1664 | 2431 | 942 | 9257 | 105 | 221 |
ELC-X06 | 6 | 150 | 1160 | 1902 | 2669 | 1072 | 11138 | 150 | 225 |
ELC-X08 | 8 | 200 | 1280 | 2334 | 3101 | 1200 | 15769 | 265 | 245 |
ELC-X10 | 10 | 250 | 1520 | 2445 | 3212 | 1355 | 21489 | 410 | 411 |
ELC-X12 | 12 | 300 | 1740 | 2777 | 3544 | 1620 | 34257 | 590 | 512 |
ELC-X14 | 14 | 350 | 1820 | 2848 | 3165 | 1720 | 40357 | 800 | 632 |
安裝圖
